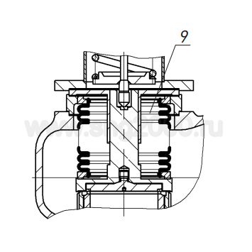
Клапан стальной предохранительный СППК5С 100-63 ХЛ1 17лс16нж3 пружинный фланцевый ст. 20ГЛ с сильфонным уплотнением штока, уравновешенного типа. ТУ 3742-004-07533604-2008
234 990,00 руб.
Клапан предохранительный СППК5С 100-63 ХЛ1 17лс16нж3 пружинный фланцевый ст. 20ГЛ с сильфонным уплотнением штока, уравновешенного типа.
Предохранительные клапаны применяются для установки на резервуарах, котлах, емкостях, сосудах и трубопроводах для защиты от аварийного повышения давления путем автоматического сброса рабочей среды в атмосферу или отводящий трубопровод. После снижения давления до нужного предела предохранительный клапан прекращает сброс среды. Расчет пропускной способности по ГОСТ 12.2.085-2002.
Показатели назначения
Рабочие среды: Вода, воздух, пар, аммиак, природный газ, нефтепродукты, жидкие и газообразные нефтехимические продукты и другие среды, в которых скорость коррозии стали 20ГЛ, 09Г2С не превышает 0,1 мм/год
Температура рабочей среды: От -60 °C до +425 °C
Миниальная температура окружающего воздуха: -60 °C
Конечную стоимость изделия уточняйте у наших менеджеров. Также менеджеры ООО «СтройНефтеГаз» всегда готовы дать профессиональную консультацию по техническим характеристикам продукции и условиям ее эксплуатации, в любое время – 24 часа в сутки.























